大家好,我是成哥,在星球昵称是子不语,非杭州那个子不语。
参加龙珠群聚会的时候,
鉴锋老师让做B2B业务的举手,全场做B2B的大概也就一只手的数量。
回来后,我就思考为什么做B2B的这么少,
我当初为什么会选择工业品的B2B,
作为一个看似很红海的工业品,
如何去竞争。
在淘宝,京东上搜了一些工业品竞争的书,都是几年前的,基本都是基于线下生意的。
生财的帖子里面也只有一篇白杨老师分享的《白杨SEO:简单分享一下工业品这类企业2B业务获取流量的渠道有哪些?》链接如下:https://wx.zsxq.com/dweb2/index/topic_detail/818244214541252
这篇文章值得一读。
参加完杭州的龙珠聚会,就一直想写一点东西,现在,我想把这份思考和经验完整地分享给大家,
希望能对个别的圈友有所启发。
大家觉得这个排版看起来比较累的话,
请移步到飞书
https://ayrx2k31mq.feishu.cn/docx/doxcnn7GfRBeP97Nto1OM4bDZ9f?from=from_copylink
一.什么是工业品
工业品(Industrial Products)是购买以后用于加工生产或企业经营用的产品。
1688有个工业品的分类,大家可以参考一下。
百度爱采购也有一个工业品板块
二.工业品的电商平台
大家所熟知的做工业品的批发平台最多的可能就是1688,
其实除了1688还有很多,比如爱采购(百度旗下),义乌购等,
其实除此以外,还有很多,我们百度搜索一下
诸如此类的平台其实很多,比较低估的两个平台一个是义乌购,一个是百度的爱采购。
尤其是百度的爱采购,在百度搜索里面的权重很高,
虽然百度流量下滑,但是瘦死的骆驼比马大。
好像有个圈友写过一篇选品的文章就是讲的通过百度工业品选品。
义乌购是一个沉淀多年的国内外批发平台,
我们也有圈友在做这个平台,并且取得了成绩。
三.为什么我会做工业品
三.工业品选品
尽管工业品有非常多的类目,但是我个人偏好是客单价不高,但是有批发的订单,消费频率比较高的产品,如切割片,打磨片,防尘口罩,手套,包装袋,分装瓶,塑料瓶,快递袋,气泡袋等等。
如中性笔这样的,他可以是工业品,也可以是消费品,B2B,B2C都可以。如果我们做的是批发平台,那么我们以批发为主,这种产品我们也是可以做的,这种产品的如果是没有文化符号或者一些其他的增值的点,它的价格战是很厉害的。
所以在选择这些产品前,要想清楚自己的竞争优势是什么。我个人偏爱的是一个产品可以使用多个用途,有不同人群的买家。不同人群的买家,议价能力是不一样的。
比如我下面介绍的皮带打孔器,本来他是给皮带打孔的,但是他又可以给纸袋,塑料袋等打孔,人群增加了很多。一把多功能菜刀,能切菜能砍骨头能拍黄瓜,但是它的客户群体还是厨师或者家里做饭的人,如果这个菜刀也能看树木,那么它的卖家群体就增加了。所以多功能不等于多群体买家。
四,竞争策略
对于一个行业,我们先要整体上了解这个行业,然后再仔细分析一下主要的经手对手,然后根据竞争对手的情况做出竞争策略。
1.行业竞争分析:
a.行业状况
除此以外,还可以在淘宝,拼多多等平台去搜。
对于行业分析,建议不求全,不要想做的尽善尽美。先做一些简单的分析,可以使用多个表格,
不要一张表汇总所有数据,对一个行业有感觉,很快能入门,如果没感觉,很难,建议从熟悉的入手。
建议学一点excel函数,尤其是要学会vlookup,作用太大了。
b.竞争者分析:
针对销量比较好的商家,重点分析,从店铺产品的分类,到单个产品的SKU销量(图片,详情页这些不是关键),
与其他同行SKU的差别(重点),以及店铺的投入。
比如我们分析他的品类:
像这样的店铺,销量很好,但是他的品类是三种不同的材质,而且同一个品类工艺也不一样,
基本上能全做的工厂是没有的,所以我们要判断出那些是工厂店,那些是经销商的店铺。
店铺销量最好的产品是什么,
每日的销量,销售金额是多少,这些都可以通过工具来计算的出来。
除此以外,在其他平台上有没有销售,尤其是淘宝,拼多多,抖音等,这都影响着我们以后的竞争策略,销售布局。
注意看销量好的店铺法定代表人,然后利用企查查去查一下,他名下的关联企业,
看看哪些店铺是他的店群。
c.买方群体:
选择怎么样的买方群体作为产品销售对象,意味着自己在议价中处于强势还是弱势这样一个地位。就算企业的产品应用于单个行业,行业中也存在不同的细分领域。
就像钻头,为什么不同的工厂都生产一些相同规格的钻头,但是又有一些不同规格的钻头。
不同的规格,就是为了满足不同买家的需要。
比如下面这个皮带冲,它本来是来给皮带打孔的,
那么我给他改变一下用途,给纸袋,塑料袋打孔,所以这个产品的客户群体一下就变了,
这个产品一个我能卖到20多一个,别人才卖13,利润一下就有了,不同买家群体,价格敏感度不一样。
比如A产品,同样是卖给跨境卖家,卖给亚马逊的价格就可以比速卖通的高很多;
淘宝天猫采购的价格就比拼多多,抖店的价格高。
买家的群体一是要靠我们的常识,经验,再就是要去多看,多看看竞品的详情页,评论等,同时多联想,脑洞大开,当客户提出问题时候,之前脑洞大开的想法就要冒出来,试着想办法去解决它。
比如说客户要在袋子上印刷一些警告语,不要小孩玩耍,危险等,数量只有1000个,
定制成本很贵,客户又不愿意多付钱,这时候有几种方法能解决呢?
这就是我们工业品销售中经常遇到的问题,看似是标品,它也是有变化的,谁能适应这些变化,谁的销售就更好。
2.竞争策略分析
《竞争战略》里写到竞争对手分析过程包含四大要素:未来目标(竞争对手的驱动要素是什么)、当前战略(竞争对手当前的行动和能力是什么)、假设(针对自身行业的假设)和能力(企业能力(优势和劣势))。
对大多数卖家来说,想的可能只是店铺的盈利,一年赚多少钱,或者达到某一个层级,但是优秀的卖家,他通常都是有规划的,多长时间起一个新店,多长时间达到某一个层级。我们在分析竞争对手的时候可能更关注的是一个单品的销量,如果想做一个更长久的生意,我们应该比同行至少高一个层级去分析。
*产品:
a.从用户的角度看产品在每个细分领域的地位。
每个公司都有一些爆款,但是这个爆款他并不能完整的覆盖顾客的需求,
而能在这其中查缺补漏,找到一些顾客新的需求,则是我们的机会。
b.产品的广度和深度。
给大家推荐一本书,这本书对我做出竞争策略的选择有很大的影响,书比较难度,但是值得读。
这本书得出一个结论,越是标品,产品SKU越多,它的竞争力越大。
*销售渠道:销售的平台,销量。
*营销运营:营销推广能力,开发新品能力。。
很多年前很多工厂都有自己的官网,至少5年以前就有全域营销或者全频道营销的叫法,但是目前很多公司连自己的公众号都没有,网址也没有,抖音账号也没有。tiktok还不火的时候我就注册了很多品牌的账号(暂且不论是否违法,我也没使用),比如sheinoffical就是我注册的。今天回头看我们企业在抖音上做蓝V认证的账号都不是很多,跟那些流量账号相比,粉丝根本没有可比性,我自己也做了,账号做的很一般,但是就是这样垃圾的账号,还是有客户过来询盘,也有成交。我们可能做不了最好,但是只要比同行做得好就好。

最近发现我的一些客户是从小红书上过来的,那么我就想学学小红书,这期大航海,我就报名了小红书。
以前我们需要告诉客户我们的网址是多少,以后我们需要告诉客户我们的公众号,抖音号,视频号是多少。当然网页也不能少,这是唯一一个我们可以自己控制的平台。
(我不能确定是不是每个地方都有这样的,我知道有几个地方是有这样的服务的)
以下是排名前三的SKU
去除重复值,我们就会找到每家的尺寸,然后我再去查询每家销量最好的尺寸。
看到这么多尺寸,大家有没有发现它们的长宽其实都是有个比例的,
没有10x50这样差别大的,如果我们能找到一些应用场景,
比如产品包装后的直径是8cm,长度是45cm这样的,比如画轴之类的。
那么这些方面的尺寸都还是蓝海尺寸。
只有我们找到蓝海后,那么我们的竞争力就强了。
3.常用竞争策略
真正的竞争优势就三种:
供给侧竞争优势--成本优势
需求侧竞争优势--需求优势
规模经济效益优势。
所以我们在考虑如何和对手竞争时候,主要从这三方面考虑。
如何降低成本(产品成本,物流成本等在内的总成本)
发现顾客的更多需求,这些需求是同行所没有满足的。
大家经常骂拼夕夕的质量差,但是为什么他的用户活跃量电商平台第一,
为什么大家还要买,究其原因就是它能刚好能满足顾客的需求,甚至比顾客的需求低那么一点点,
但是还是能用。我们在做包装袋的时候,厚度有0.01mm-0.2mm,相同的厚度有客户说质量好,也有说质量不好。所以要挖掘顾客的需求。
下面是我一个学生,在亚马逊上找的爆款,改了他的缺点,从最初的期望一天卖几千个,卖到4万块钱一天。卖2块钱,赚8毛。他最成功的一点是做好了保密措施,产品改良后,他寄样品给之前成交过的大客户,但是1688的主图和详情页并没有修改,竞争对手还在继续卖原来的产品。


之前我们更多的时间是研究竞品是什么,有什么,怎么卖,今后我们更要关注的是客户需求什么,怎么降低自己的成本。
之前我写过一篇帖子《从无货源到有货源,1688成长之路》,当有量的时候,有大把的工厂供你挑选,货款月结,新品优先挑选等各种福利。
五,确立竞争优势
竞争的目的是利润,而不是打压对方。
但是在电商这个平台,经常要面对竞争对手的价格战,从而陷入囚徒困境。
那么如何克服价格战的囚徒困境,确立自己的竞争优势:
1.优化自己的供应链。同样是塑料,国产的比进口的便宜,回收料比新料便宜,20%的回收料80%的回收料价格比100%的新料便宜。
不同的产地价格也不相同,通常山东的比河北的便宜,河北的比义乌的便宜,义乌的比广东的便宜。一吨的差价能达到几百上千元。
2.优化自己的产品,实现产品的差异化,如产品功能,颜色,尺寸等等。
3.增加自己的软实力。
在生财有术里面的帖子还是在龙珠群里面有圈友分享过剧照授权,一些明星就几万块钱。
我也分享过在CCTV打广告,最便宜的播放3次6000元,有证书,有视频,在自己的产品上可以写上CCTV广告合作伙伴。
客户需要的一些证书做一做,比如ROHS证书,最便宜的财200多元。不管他是哪个公司做的,只要证书的抬头是ROHS就可以。
4.关注细分领域买家的增长速度,比如中秋节到了,大量客户会定制中秋礼盒,赣南脐橙要下来的时候,会有很多客户定制装脐橙的包装袋,
从这两个水果的包装我就推出每个水果旺季来临的时候,客户都会找这个品类的包装。重点关注客户议价能力比较弱的行业,客户对价格的敏感度比较弱。相对于产品,包装那点钱不算什么。如果客户的产品本身就很便宜,那么它对价格的敏感度就很高。
5.增加自己的专业度,赢得客户的信任。
6.提升服务。
7.多平台布局。
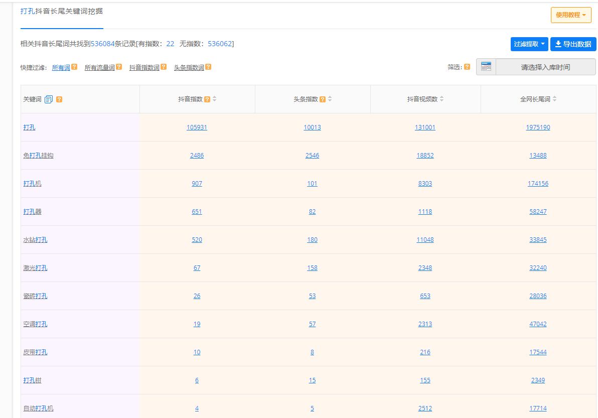
8.多个流量渠道推广,多做流量平台的SEO优化,据我观察,绝大部分的生产厂家在抖音,视频号等平台发的视频基本都是生抽视频。
起的标题也都是是xxx厂家。其实我们还是要回到顾客需求方面,客户搜什么,我们发什么。
怎么知道客户搜什么,可以在APP的下拉框搜索,也可以借助5118来找。
除了新媒体,传统的百度SEO我们也需要做,比如百度知道等推广。
温馨提升:不要在xx戒网上找这种百度知道推广的,我做过,全给我删除了。
9.流量私域化,大的客户,批发客户,代销客户尽量往微信里面导。
但是切记不要建群,因为我们给每个客户的价格不一定相同,容易翻车。
10.多学习,多交流,多思考。
最后,工业品赛道是一个长期的过程,是一个逐渐积累的过程,它是一个事业,可以传承下去的。
如果想做工业品这条赛道的,建议从身边的资源入手,如果你的亲戚朋友嘴上说不赚钱,
却换车换房了,说明还是赚钱的。
作为生财有术的圈友,我们星球里面最多的知识就是如何获取流量,
这是我们最大的优势,要发挥好这个优势。
如果你是一个如同我一个社恐的人,工业品赛道适合你;
如果你是一个社牛,工业品赛道更适合你。
今晚听了谢无敌老师说小红书非常适合饰品等,
我想说我们工业品给的佣金也高,而且是重复购买,也适合吧。
刘润老师在8月18号在深圳参加工业品的活动,
说明他也是很看好这个赛道的,深圳的圈友,有时间可以去看看。
- 客户复购率高:目前在1688上的复购率基本都是在20%以上。
- 客户积累:疫情原因,很多地方的生意都下滑了,但是义乌市上半年进出口总额达2222.5亿元,同比增长32.8%,很多客户都来不了,为什么生意还能火爆,这就是客户积累的力量。
- 竞争者五花八门:很少出现一个大鳄能垄断整个行业的。
- 行业稳定:每个工厂,经销商基本销售的产品比较稳定,产品的生命周期很长,
- 因为学了一点爬虫,利用工具,我把整个行业的供应商数据导出来,按照订单数量,产量,产品属性,销售金额对他们进行一个排序。了解这个行业的产品种类,销量,属性,用途,批发量,买家人群等。
- 卖的贵的是那些产品,他们的属性是什么;卖的便宜的产品,他们的属性是什么,产地是哪里。
- 总成本:谁的总成本低,效率更高,谁就更有优势。对于电商企业,通常我们看的就是对手的产品采购成本,推广成本,物流成本。 举一个例子,大家是不是有看到那种几十块钱的东西还顺丰包邮的。大家熟知的是顺丰有特快,标准快递。
- 单品分析:我们以快递袋为例,在1688平台上有公司一年做到1个亿的销售额,产地是在江西。
